消防喷淋系统的认识之喷淋末端试水装置
时间:2020-06-01 阅读:2133次来源:本站
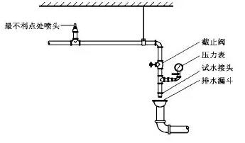
末端试水装置有试水阀、压力表及试水接头组成。末端试水的作用是检验湿式系统的可靠性,测试系统能否在开放一只喷头最不利条件下可靠报警并能正常启动。测试水流指示器、报警阀、压力开关、水力警铃的动作是否正常,配水管道是否畅通及最不利点喷头压力是否合格等。
末端试水的测试方法:打开末端试水试水阀,末端试水接头有水正常流出,这时候末端试水压力表压力不能低于0.05mpa,5-90秒内水流指示器、压力开关、水力警铃应动作,30秒内启动消防喷淋泵。
每一个报警阀组所控制的最不利点喷头处应该设置末端试水装置,其他的防火分区和最不利点处喷头应设置试水阀。

qq客服1